Startseite
Ausstellung
Atemanschlüsse
Zubehör
Schlauchgeräte
Fluchtgeräte
Behältergeräte
    713A
    85 105
    16004
    16005
    16016
    16105 - 16216
    16220
Regenerationsgeräte
Wiederbelebungsgeräte
Inhalationsgeräte
Prüfgeräte
Werkzeuge
Gasschutzanzug
Gasschutzfahrzeuge
PSA
BSM
Bestell-Nummern
DDR Literatur
Piktogramme
Masken Schwerin (A - K)
Masken Schwerin (K - U)
Tragebüchsen/Tragetaschen
Geräte und Mittel
Schutzbekleidung
Filter
Lehrmittel

16005

Bezeichnung

Behältergerät 16005
bzw. Druckluft-Atemgerät 16005

Preis 1975: 642,00 MDN

Einsatz bei der Feuewehr ab ca. 1969 bis ca. 1985
Einstellung der Produktion Ende 1984 (lt. Atemschutz Information 1985 Seite 12)
(z.Z. im IFM)



Nach oben

Ansicht




Nach oben




Nach oben

Technische Daten

Länge:  610 mm 
Breite:  170 mm 
Tiefe:  135 mm 
Masse ohne Maske:  ca. 15 kg  
Luftvorrat:  1600 l 
Gebrauchsdauer:  ca. 1 Stunde  
Verwendung:  Feuerwehr, Industrie und Bergbau über Tage 


Nach oben

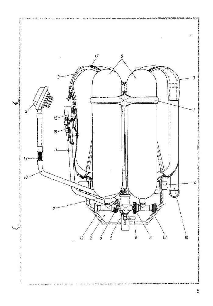
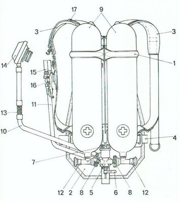
Hauptteile

1 = Tragegestell
2 = Rückenkissen
3 = Schultergurte
4 = Leibgurt
5 = Druckminderer
6 = Hebel der Widerstandswarneinrichtung
7 = Überdruckventil
8 = Handanschlüsse
9 = Druckluftflasche
10 = Niederdruckschlauch
11 = Hochdruckschlauch
12 = Flaschenventile
13 = Handanschlussstück
14 = Lungenautomat
15 = Manometer
16 = Manometerhalter
17 = Schlaufe


 


Nach oben

Schutzüberzug 16008


(z.z. im IFM) 



Nach oben

Varianten Schutzüberzug


(z.z. im IFM) 



Nach oben


(z.Z. im IFM) 



Nach oben


PGH Eisenhüttenstadt (z.Z. im IFM) 



Nach oben




Nach oben

Quelle 1

 


Nach oben

Quelle 2

 


Nach oben

Quelle 3



Nach oben

Quelle 4



Nach oben

Quelle 5



Nach oben

Quelle 6



Nach oben

Ersatzteilliste

   


Nach oben

Garantieschein/Prüfkarte



Nach oben